|
1-PC Ball Valve You are here:Home -1-PC Ball Valve
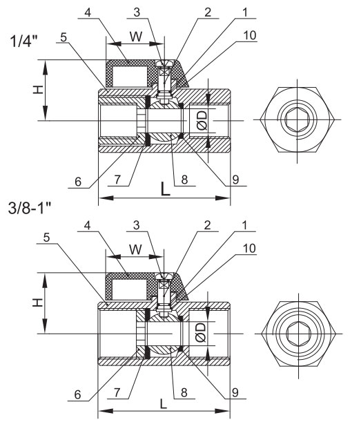
QX0103
|
| Home |
About Us |
Products |
Honor |
Feedback |
Contact Us |
Copyright: Cangzhou Quan Xin Technology Valve Co., Ltd. Tel: 0086-317-2178035 Fax: 0086-317-2178008 Website: www.czqxvalve.com Address: Shenyang Road 1,High Technology Industrial Development Zone,Cangzhou,Hebei,China. 冀ICP备2023025140号-1 |